您的位置:首页 >财经头条 > 财经头条
多家基金公司精准“抄底”
2022-07-25 18:30:07
来源:上海证券报·中国证券网
简介:陆海晴二季度,面对市场的震荡调整,基金公司密集出手,纷纷自购起旗下基金。梳理发现,多家基金公司更是精准买到了底部,已收获颇丰。基金公司可谓对
原标题:多家基金公司精准“抄底”
陆海晴
二季度,面对市场的震荡调整,基金公司密集出手,纷纷自购起旗下基金。梳理发现,多家基金公司更是精准买到了底部,已收获颇丰。基金公司可谓对旗下基金最知根知底,他们究竟看上了自家的哪些基金?
Choice数据显示,二季度,超200只基金收获了自家公司的资金支持,其中,100多只基金获净申购份额超过1000万份。
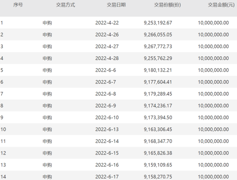
从追求稳健收益的债券型基金来看,工银瑞信四季收益债券、中欧中短债债券等基金获基金管理人申购(或认购)超1亿份。
有的基金被更是被公司多次增持。以工银瑞信四季收益债券基金为例,二季度,工银瑞信基金合计申购该基金1.29亿份。仔细分析发现,4月以来,工银瑞信基金共增持了工银瑞信四季收益债券基金14次。
基金公司运用固有资金投资工银瑞信四季收益债券基金情况
从主动权益基金、FOF基金情况来看,易方达汇诚养老2038三年持有混合(FOF)、长江新兴产业混合、中欧预见养老2050五年持混合有(FOF)等获基金管理人申购(或认购)超6000万份。
部分基金公司更是精准在买在底部,如今已收获颇丰。以谢治宇管理的兴全合宜混合为例,根据基金二季报,4月28日,兴证全球基金申购兴全合宜混合1795.91万份,合计成交金额为2500万元。值得一提的是,兴全合宜可谓是兴证全球基金的心头好,截至二季度末,兴证全球基金合计持有兴全合宜9129万份。
基金公司运用固有资金投资兴全合宜情况
从兴全合宜混合基金净值增长情况来看,4月28日-6月30日,兴全合宜混合A净值增长22.54%,近期基金净值有所回落,截至7月22日,4月28日以来,兴全合宜混合A净值增长超16%。
类似的还有中欧预见养老目标日期2050五年持有期混合(FOF),二季度,中欧基金合计买入9000万元,共分为三次买入。其中,第一次买入在4月28日,同样是市场最为低迷的时刻。彼时,中欧基金买入2291.17万份,成交金额合计3000万元。从4月28日至7月20日,中欧预见养老目标日期2050五年持有期混合(FOF)A基金净值增长超过16%。
基金公司运用固有资金投资中欧预见养老目标日期2050五年持有期混合(FOF)情况
也有基金公司在新基金发行的时候积极认购,如今也取得了丰厚的回报。以上银新能源产业精选混合为例,在基金募集阶段,上银基金自购1000万元。该基金自4月20日成立以来,净值涨幅一度超过40%,近日基金净值有所下跌,但截至7月22日,基金净值仍上涨28.08%。
在长江新兴产业混合上,如若基金管理人持有至今不卖出,收益超1000万元。具体来看,4月18日,长江资管认购长江新兴产业混合1亿份。从长江新兴产业混合A基金净值表现来看,截至7月22日,基金成立以来收益率超过14%。
不过,也有基金公司选择在二季度卖出旗下部分基金。其中,永赢港股通品质生活慧选混合、鑫元鑫动力混合、中银锦利混合、红塔红土盛丰混合、万家颐达混合等均被基金管理人赎回超3000万份。
有的更是清仓式赎回。以万家颐达混合为例,4月14日,万家基金赎回2500万份,6月15日再度赎回7045.53万份,二次合计赎回9545.53万份,成交金额合计为1.06亿元。
基金公司赎回万家颐达混合情况
在业内人士看来,今年以来,基金公司掀起自购潮,历史数据显示,当基金公司频繁自购的时候,某种程度上反映出市场见底的信号。“从今年基金自购收益情况来看,不少基金公司实现了正收益。同时,基金公司赎回旗下基金也有多重考虑,有可能是资金期限到期收回,或是有更看好的基金导致赎回,从而重新申购旗下别的基金。”
“除了基金管理人自购旗下基金要公告以外,当赎回旗下基金时候也应当主动公告,为投资者决策提供参考。”上述人士说。
相关文章
- 全国统一电力市场体系加速构建 南方区域电力市场启动试运行
- 新型重疾险免除健康告知业界:有新意也有隐患
- 沪深交易所年内对3478起异常交易行为采取监管措施
- 人社部:全国社保卡持卡人数达13.6亿人
- 快讯丨中国财险:初本德辞任独立非执行董事等职务
- 行业观|易方达、广发等4只中证1000ETF开售 南方、华夏存量产品规模激增
- 马上消费全力激活消费市场,引导绿色低碳消费
- 权益基金二季度大举加仓,超六成基金股票仓位超90%
- 银行板块九星报喜 上半年净利润增速均达双位数
- 快讯|紫金银行业绩快报:上半年归母净利润8.24亿元,同比增长10.05%
- 长护险:49个城市试点 保障更多失能老人
- 行业观|权益基金二季度加仓 “顶流们”调仓路径浮现
- 专项债“输血”中小银行,辽宁领跑发135亿
- 快讯|中证1000ETF成交迅速放量破5亿,近四日日均成交超8亿
- 云端聚首,2022浙江公募REITs及资产支持证券交流会圆满举办
- 74城首套房贷利率低至4.25% 一线城市降幅较小
- 公募基金十大重仓股出炉 新能源占据半壁江山
- 1元起拍?解密法拍房的隐秘江湖
- 新职业培训暗藏骗局:宣称无门槛拿证、高薪挂靠
- 蚂蚁金选基金半年报出炉 震荡市“分散、长期”竟成关键词
随机图文
-
2025年ADAS市场规模将逾2000亿元
随着政策法规的强有力推动,加之人们对驾驶安全需求的快速提升,近年来高级驾驶辅助系统(ADAS)在汽车中的应用越发普及。特别是随着相关法规规定 -
145只基金深“锁”万科A 净值估值已调整
【145只基金深“锁”万科A】宝能集团的“罢免”议案将万科股权之争推入大决战,华润、宝能、万科管理层的一举一动都牵动着资本市场的心。市... -
1月14日国寿安保稳吉混合C近三月以来收益2.04%,基金有哪些投资组合?
1月14日国寿安保稳吉混合C近三月以来收益2 04%,基金有哪些投资组合?以下是南方财富网为您整理的1月14日国寿安保稳吉混合C基金市场表现 -
业绩冲刺期 解禁压力考验基金
【中国人保(601319)、股吧】周一跌停,股价创阶段新低,引发了市场对因限售股解禁压力导致股价下跌的关注。中国人保上市以来颇受机构关注,截 -
“帮忙资金”跑路?这只基金成立3天大涨11% 但近9成或已被赎空!
机构资金大额赎回导致基金净值暴涨已然不是新鲜事,然而基金君无意中发现,有只基金刚成立三天便遭到“帮忙资金”抛弃,目前近九成或已被赎... -
12月10日国泰中证钢铁ETF联接A近三月以来涨了多少?基金前端申购费是多少?
12月10日国泰中证钢铁ETF联接A近三月以来涨了多少?基金基本费率是多少?以下是南方财富网为您整理的12月10日国泰中证钢铁ETF联接A基 -
深交所:欣泰电气股票终止上市 一退到底无法重新上市
摘要 【深交所:欣泰电气终止上市】深交所6月23日公告,欣泰电气是创业板第一家退市的公 -
收益笑傲群雄!2016年QDII基金业绩规模排行榜出炉
2016年,股票型基金平均收益率为-12 20%,混合型基金-4 24%,债券型基金0 09%,QDII基金平均收益率为6 54%,远高于其